1 研究背景
广西是甘蔗种植的主要地区,每年的甘蔗产量占全国产量的50%以上。然而甘蔗的收割主要还是靠人为劳动力,不仅劳动强度大,而且效率低,因此开发甘蔗收获机成为广西农业机械的研究热点。
目前已研发并成功进行试验的甘蔗收获机(如图1所示),包括带行走车轮的车架,车架上装有动力装置、切割装置、输送装置和剥叶装置等,能一次完成切梢、砍头、剥叶、清理、集堆等工序,工作效率高。但因为其整合切削装置、砍头装置、剥叶装置和收集装置等于一体,导致机器庞大,结构复杂,所需的配套动力大,机动性差,转弯不灵活,在小块蔗田中不能发挥作用;甘蔗收获机的切割装置多采用旋转刀盘进行切割,由于其对甘蔗的切口小,易使甘蔗夹持在刀盘上,产生二次切割,造成甘蔗破头,影响甘蔗第二春发芽生长。针对目前甘蔗收获机结构上的缺陷,通过对技术系统的分析,利用TRIZ理论进行创新设计。
1-切削装置;2-扶蔗装置;3-砍蔗装置;4-喂入装置;5-输送装置;6-剥叶装置;7-动力装置;8-集蔗装置
图1 甘蔗收获机
2 TRIZ理论
TRIZ理论是苏联军方技术员根里奇·阿奇舒勒和科学家们在50多年间通过对数以百万计的专利文献和自然科学知识进行研究、整理和归纳,最终建立起来的一整套系统化的、实用的、解决发明问题的理论和方法体系。其中提出了矛盾矩阵、76个标准解法、ARIZ、AFD、物质-场分析、ISQ、DE、8种演化类型、科学效应等TRIZ系列的多种分析工具。借助TRIZ分析工具,不同工程领域的技术人员在面临技术难题时,可打破思维定势、拓宽思路,以全新的视角和思路分析问题,快速得到可操作的高效的解决方案。
3 现有问题分析及改进设计
3.1 问题描述
3.1.1 甘蔗收割机工作原理
如图1所示的甘蔗收获机,包括切削、扶蔗、砍蔗、喂入、输送、剥叶和行走装置。甘蔗机在前进过程中,首先通过切削装置对甘蔗进行切削,扶蔗装置和砍蔗装置对甘蔗进行切割,通过扶蔗装置使甘蔗进入剥叶装置,通过输送装置进入集蔗装置,完成甘蔗切割与收集。
砍蔗装置(如图2所示)为甘蔗收获机的重要装置,其利用双刀盘结构,刀盘直径线上固定有两把单面三段刃式刀片,刀片的三个切削刃位于刀片砍蔗面的正边及顶边上,双刀盘上的刀片初始安装角度相差90°。通过旋转力进行切割,因为是在前进过程中进行,这样会产生切口不深,不能达到一次性切割的效果,第二刀片会再次进行切割,导致切口不一致,甘蔗破碎。为了保证甘蔗的收割效率,将上述的几大部分整合成为一体式甘蔗收获机,能够有效、大规模地进行甘蔗收割,但体积庞大,不能在小块土地上工作。
31-锥形齿轮;32-锥齿轮;33-刀轴;34-套杯;35-加强筋;36-联接盘;37-刀盘;38-刀片
图2 砍蔗装置
3.1.2 待解决问题
(1)甘蔗收割机体积庞大,无法在小块土地上进行有效工作,通用性差。
(2)甘蔗收割过程中,甘蔗破头率高。
3.2 问题分析及改进设计
3.2.1 甘蔗收获机通用性差问题的技术矛盾分析及改进设计
现有甘蔗收获机整合了切削装置、砍蔗装置、输送装置、剥叶装置和收集装置于一体,提高了生产效率,但导致机体体积庞大,无法在小块土地工作,通用性差。因此,问题中存在一对技术矛盾:改善的工程参数为39生产率,恶化的功程参数为35适应性、通用性。通过查找矛盾矩阵得到相应的创新原理为:1分割原理;35物理或化学参数改变原理;28机械系统代替原理;37热膨胀原理。
根据1分割原理“把一个物体分成相互独立的部分”的启示,得到如下的解决方案:在整合于一体的装置中,将占用体积较大的动力装置分离,然后在切割装置上安装导杆和传动轴,使用时再通过传动轴连接微耕机等农业机具的动力装置,从而达到简化机器但又能进行切削、砍头和剥叶的效果。
3.2.2 甘蔗破头率高问题的物质-场分析及改进设计
本问题中,刀盘对甘蔗具有切割作用使甘蔗分离易于收集,同时刀盘对甘蔗具有破坏作用,建立问题的物-场模型(如图3所示),进一步查找76个标准解法得到对应的解决方案模型(如图4所示),即S1.2.2“通过改变现有物质来消除有害关系”。
图3 问题的物-场模型
图4 解决方案模型
根据问题的解决方案模型,可以对刀盘结构做进一步改进,改变刀盘对甘蔗的切割方式,实现一次性切割,减少切口破损。
具体是将原来间隔安装的锯齿形圆刀盘改为前端设有刃口并且多组并排设置的方形刀盘,增加刀盘的切割面积,实现一次性切割,降低甘蔗破头率,同时提高切割效率。
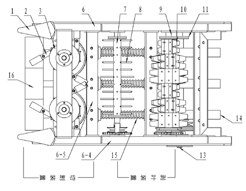
3.3 最终方案
结合上述对甘蔗收获机机体和刀盘改进的方案,形成了最终方案(如图5所示),利用至少2根活动导杆横穿在车架上,导杆前端设置方形刀盘,中间设有弹簧,刀盘为并排设置,增加刀盘的切割面积,提高切割效率。车架后面的传动装置可连接微耕机等农业机具的动力装置形成独立单元。利用微耕机的动力带动传动轴旋转,从而带动导杆向前压缩,使刀盘向前移动切割甘蔗。切割完后,通过弹簧压缩力使导杆带动刀盘恢复到初始位置。如此进行反复运动。
1-导向板;2-扶蔗装置;3-转盘;6-车架;6-4-横梁;6-5-纵梁;7-前剥叶辊;8-钢丝齿;9-后剥叶辊;10-橡胶齿;11-齿轮;13-传动轴;14-导杆;15-弹簧;16-刀盘
图5 甘蔗收获机最终方案示意图
4 结论
针对甘蔗收获机通用性差和甘蔗破头率高的问题,利用TRIZ理论技术矛盾分析、物质-场分析进行问题求解,得到最终解决方案。将TRIZ理论应用于农机产品的研发过程,不仅能够提高解决问题的成功率,缩短产品研发周期,还能对产品未来的发展趋势做出预测,对农业机具的创新、可持续发展具有重要的意义。
参考文献
[1]周勇.甘蔗收获机械化发展现状分析与思考[J].安徽农业科学,2012,40(22).
[2]程绍明,王俊,卢志乐,等.小型整秆式甘蔗收割机改进设计与试验[J].2014,(4).
[3]赵敏,史晓凌,段海波.TRIZ入门及实践[M].北京:科学出版社,2009.
[4]陈敏慧,蒋艳萍,吕建秋.TRIZ国内外研究现状、存在问题及对策研究[J].科技管理研究[J].2015,(1).
[5]张志远,何川,张殉.TRIZ理论研究综述[J].重庆工商大学学报(自然科学版),2004,21(1).
[6]江娅楠,贾仁甫.TRIZ理论及其解决问题的方法研究[J].中国高新技术企业,2017,(1).
[7]李尚平,梁式,陈伟叙,等.丘陵地整杆式甘蔗联合收割机[P].中国,200710051418.5.2007-11-21.
基金项目:国家科技部创新方法工作专项资助项目(2013IM022400)
(作者罗永城系广西壮族自治区科学技术情报研究所高级工程师)






